11

2026.4

管理员

作者

0

阅读量

精度利器|千分尺全解析:结构、类型与应用,看完秒懂
本文全面解析千分尺的测量原理、核心组成部件、常见类型及适用场景,拆解其高精度优势,助力从业者快速掌握千分尺的核心知识与使用逻辑。

 

在机械加工、精密制造等领域,高精度测量是保障产品质量的核心环节,而千分尺作为一款经典的高精度测量工具,凭借其出色的测量精度,成为行业必备装备。它不仅能实现微米级测量,更遵循科学的测量原理,适配多种测量场景,今天就带大家全方位读懂千分尺。
不同于普通卡尺,千分尺遵循阿贝原理,这一核心设计让它的测量精度远超常规测量工具,部分高端型号甚至能实现1微米(μm)级的精准测量,满足严苛的精度要求。日常我们所说的“千分尺”,通常特指外径千分尺,除此之外,根据测量需求的不同,还有多种细分类型可供选择。
千分尺的量程以25毫米为间隔划分,比如0-25毫米、25-50毫米,具体需根据被测目标的尺寸选择适配量程。近年来,操作便捷、读数直观的数字千分尺,逐渐取代传统机械千分尺,成为更多从业者的首选。

一、千分尺符号释义

千分尺又称微米,是国际通用的公制长度单位,1微米(μm)等于0.001毫米,换算为英寸约为0.000039英寸。作为测量工具,千分尺的名称也源于这一单位,其通用符号为μm,是高精度测量领域的常用标识。

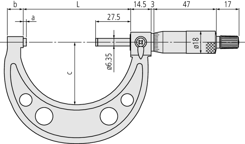
二、千分尺的核心组成部件

千分尺的高精度的离不开各部件的精密配合,其核心组成部分分工明确,共同保障测量的准确性,具体如下:

1. 框架(Frame)

框架为C形主体结构,核心作用是固定砧座和刻度筒的相对位置,确保测量过程中两者不会发生相对位移。为了避免形变、热胀冷缩对测量结果的干扰,框架设计得厚重扎实,自身热质量较高,可防止因手持导致温度快速变化。同时,框架外部通常覆盖绝缘塑料板,进一步减少手部热量传递,保障测量精度。

2. 砧座(Anvil)

砧座是千分尺表面光亮的固定部件,也是被测物体的贴合基准面。测量时,被测物体需平稳靠在砧座上,主轴向砧座移动并夹紧物体,砧座的平整性直接影响测量结果的准确性。

3. 刻度筒(Sleeve, barrel, or stock)

刻度筒是带有线性刻度的固定圆形部件,部分型号还带有游标刻度,用于读取测量数值。在部分千分尺中,刻度标记在可微调的圆柱形套筒上,该套筒套在内部固定的刻度筒上,可通过微调套筒位置完成零点校准,确保测量基准准确。

4. 锁紧螺母(Lock nut, lock-ring, or thimble lock)

锁紧螺母是带有滚花纹路的旋钮或杠杆,当测量完成后,拧紧锁紧螺母可固定主轴位置,避免主轴移动导致测量数值偏差,方便临时锁定和读取测量结果。

5. 丝杆(Screw)

丝杆是千分尺的核心部件,隐藏在刻度筒内部,千分尺在德语中被称为“测量螺纹”,正是源于丝杆的关键作用。丝杆的精密螺纹设计,决定了主轴移动的精度,进而影响整体测量精度。

6. 主轴(Spindle)

主轴是可移动的光亮圆柱形部件,在套筒的带动下向砧座方向移动,实现对被测物体的夹紧。主轴的表面光滑度和移动精度,直接关系到测量的精准度。

7. 套筒(Thimble)

套筒是带有刻度标记的旋钮部件,通过拇指旋转套筒,可带动主轴移动,是操作千分尺的核心部件。套筒上的刻度与刻度筒的刻度配合,可精准读取测量数值。

8. 棘轮止动装置(Ratchet stop)

棘轮止动装置位于手柄末端,其核心作用是控制夹紧压力。当旋转套筒使主轴夹紧被测物体,达到设定扭矩时,棘轮止动装置会自动打滑,避免过度夹紧导致物体变形或测量偏差,确保每次测量的压力恒定。

三、千分尺的常见类型及使用方法

根据测量对象、测量空间的不同,千分尺衍生出多种类型,通常以套装形式推出,适配不同尺寸和场景的测量需求,常见类型及使用方法如下:

1. 外径千分尺

外径千分尺是最常用的类型,外形和操作方式类似C形夹,核心用于测量物体的外部尺寸(外径)。测量时,将被测物体平稳放置在砧座和主轴之间,旋转套筒带动主轴移动,直至夹紧物体,通过套筒和刻度筒的刻度配合,读取测量数值。

2. 内径千分尺

与外径千分尺相反,内径千分尺用于测量物体的内侧尺寸(内径),外形类似笔状,中部带有可旋转套筒。测量时,旋转套筒使测量端像窗帘杆一样展开,直至两端紧密贴合被测物体的内壁,通过套筒上的刻度读取内径数据,适用于管道、轴承等空心物体的内径测量。

3. 深度千分尺

深度千分尺专门用于测量孔洞、凹槽、槽体的深度,拥有一个平整的底座,测量时将底座与被测凹槽的顶部对齐,旋转套筒使测量杆从轴上向下伸出,直至测量杆接触到凹槽底部表面,通过套筒刻度读取深度数值。

四、千分尺的适用场景

千分尺的核心优势是测量精度高,因此主要用于对精度要求严苛的场景,是机械制造、精密加工等领域的必备工具,具体适用场景如下:
当测量精度是核心需求时,千分尺是首选工具。比如测量管材、工件的外部尺寸,轴承、管道的内部宽度,以及各类孔洞、凹槽的深度,都能通过对应类型的千分尺实现精准测量。
在机械制造中,精密活塞、轴承等相互运动的部件,需要极高的尺寸精度,一旦出现微小偏差,就可能导致设备故障,此时千分尺的精准测量能有效保障部件尺寸达标。此外,在特种管道加工(如输送氦气等小分子气体的管道)、金属板材厚度测量等场景中,千分尺也能发挥不可替代的作用,确保加工质量符合要求。
千分尺作为高精度测量工具,其结构精密、类型多样,掌握其组成部件、类型差异和适用场景,能更好地发挥其测量优势,保障产品精度。无论是机械行业从业者,还是相关专业学习者,读懂千分尺的核心知识,都能为工作和学习提供有力支撑。收藏本文,轻松掌握千分尺使用精髓!